160Kva Epoxy Resin Insulated Transformer
Peev Xwm: 160Kva
Voltage: 10KV / 0.4KV (Customizable)
Hom: Qhuav-Hom Fais Fab Transformer (Epoxy Retin Casting)
Cov ntawv pov thawj: ISO 9001, SGS, CE
Cov txiaj ntsig tseem ceeb: freatfoof / tawg-pov thawj qauv, kev saib xyuas-dawb, zoo tagnrho rau kev lag luam.
Puas muaj lus nug? Gnee Cov Neeg Sawv Cev Muag Khoom muaj nyob rau cov kev sib tham tam sim no
Xa e-mail:sales@gneeelectric.com
Tel:+8615824687445
Cov Khoom Taw Qhia Ntawm 160Kva Epoxy Resin Insulated Transformer
Tus160Kva Epoxy Resin Qhuav Hom TransformerYog ib qho kev siv thev naus laus zis tom ntej tsim rau kev siv tshuab hluav taws xob kev pheej hmoo siv, ua kom muaj kev phom sij hauv ntiaj teb, thiab ua haujlwm nrog cov neeg muaj suab nrov hauv qab no 45db .
Cov ntsiab lus zoo:
Superior Hluav Taws Xob Kev Nyab Xeeb: Epoxy Resin tau ua tiav F 1- Chav Kawm Hluav Taws Xob Hluav Taws Xob, zoo meej rau cov chaw pej thuam densely {}}
Zog Efficiency: Scb144 Series txo tsis muaj-thauj khoom poob ntawm 20% thiab ua tiav chav kawm 1 kev ua tau zoo los ntawm kev ua haujlwm Hom Qhuav-Ntaus Lub Tog Hluav Taws Xob Transformer Tsim .
Txawj ntse: Integrated temperature monitoring interfaces enable remote management, aligning with Industry 4.0 requirements.


Cov khoom lag luam parameter
|
||||||||||||||||||||||||||||||||||||||||||||||||||||||||||||||||||||||||||||||||||||||||||||||
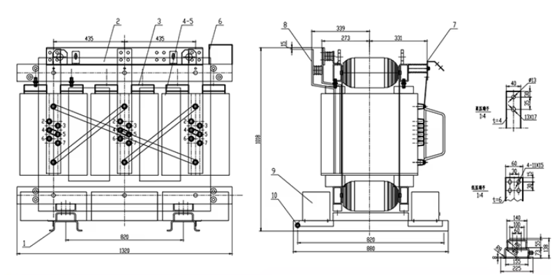
daim duab
Cov Khoom Siv Kev Ua Tau Zoo
TusEpoxy Resin Qhuav Hom TransformerNta cov triple-txheej rwb thaiv tsev system nrog unmatched ua tau zoo:
High Txhua Yam Zog:
Cov Khoom Siv Epoxy Resin tsis kam cuam tshuam thiab kev co, tiv thaiv cov coils kom txuas lub neej ntawm cov roj av hloov pauv {}}
Ya raws thiab kub tiv:
Kev khiav hauj lwm tawm tsam kev kub ntxhov (-25℃rau 155 degree), haum rau kev kub thiab ntug hiav txwv ib puag ncig.
Eco-friender muaj pes tsawg leeg:
100% tsis-toxic khoom opoxy cob, pub muaj cov hlau hnyav, ua raws li ROHS cov qauv.
Tsawg tsawg ib feem tawm:
Kev Tso Tawm Ib Nrab Ntshav<5pC, far exceeding IEC 60076-11 requirements, ensuring the Dry-type Power Transformer's safety and reliability.

Vim li cas thiaj xaiv peb?
Gnee pawg:
Ntiaj Teb Transformer mov txuas nrog cov kws muaj txuj ci ({0}} tam sim no
Tsim tau nyob rau hauv xyoo 2008, Gnee tau dhau los kaum tsib xyoos kev ua haujlwm thoob ntiaj teb, cov pab pawg ua haujlwm ua kom tiav, cov khoom siv ua kom tiav, cov khoom siv ua kom zoo dua qub sector. In the era of Industry 4.0, GNEE Group is accelerating towards its goal of becoming a global integrator oftransformer industry value through digital restructuring and green supply chain construction.

SGS Daim Ntawv Pov Thawj Ntawv Pov Thawj

Ib Cheeb Tsam Ntau Lawm

Cim npe nrov: 160Kva Epoxy Resin Insulated Transformer, Tuam Tshoj 160Kva Epoxy Resin Insulated Transformer tuam ntxhab, cov chaw muag khoom, Hoobkas
You Might Also Like
Xa kev nug















